3TFLANGED BALL VALVE WITH ISO5211 PAD
3TFLANGED BALL VALVE WITH ISO5211 PAD
STANDARD SPECIFICATION
Pressure/Temperature:GB/T12224 Design:GB/T12237
Structure lenged:GB/T12221 Test:GB/T13927
connection:HG/T20592
Technical parameter



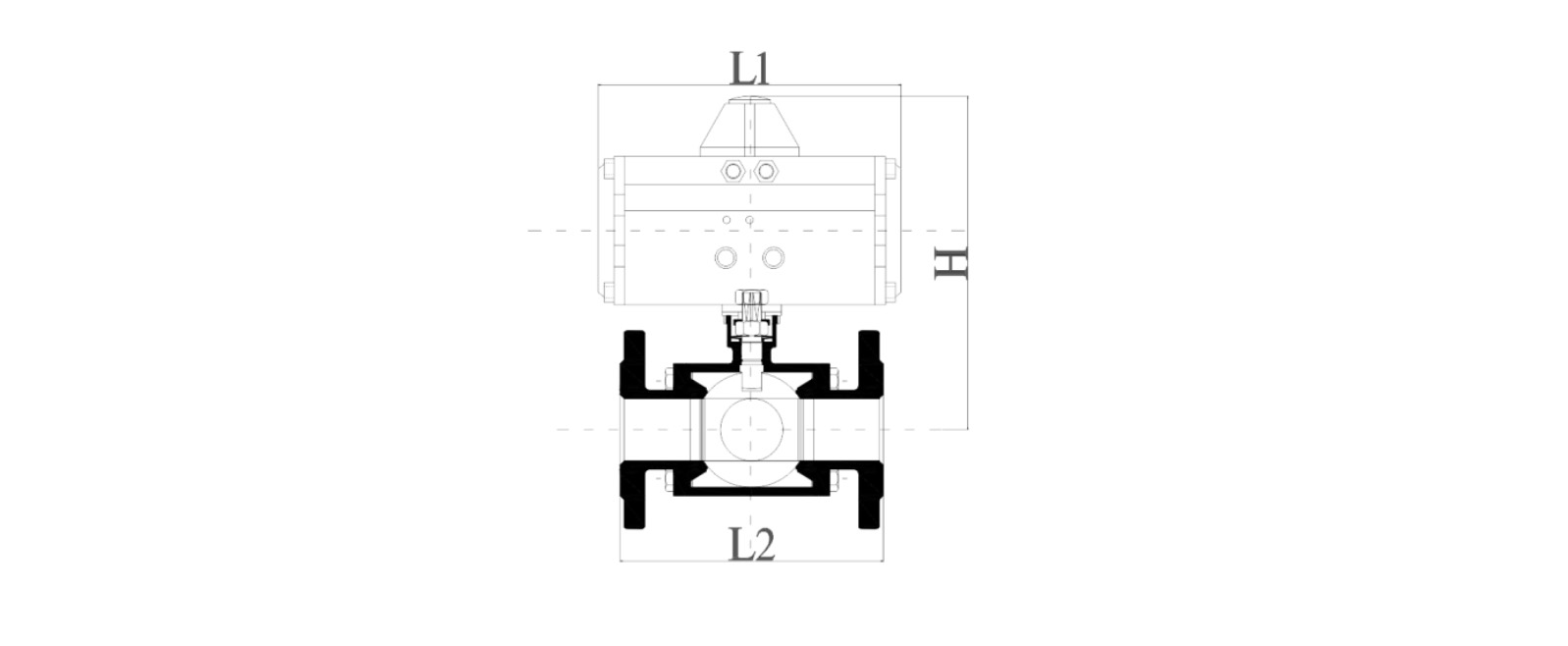
Mounting dimensions
Model description
Product use
Download